
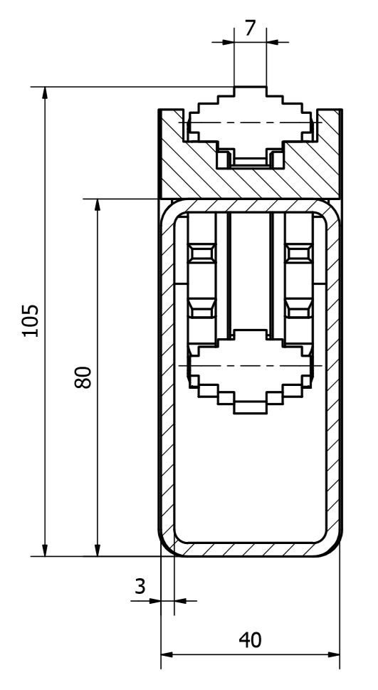
Der Kettenstrang in schmaler Ausführung sieht im Schnitt wie dargestellt aus. Die Achse der Umlenk-Kettenräder wird beidseitig mit Senkschrauben befestigt.
Achtung: Hierbei handelt es sich nicht um die Standard-Ausführung. Diese "schmale Ausführung" muss separat beauftragt werden.
Abhängig von den Kufen des Förderguts können die Kettenstränge der Kettenförderer kammförmig versetzt zueinander angeordnet werden, um eine reibungslose Übergabe des Förderguts von einem Förderer zum nächsten zu gewährleisten.

Je nach Beschaffenheit des Förderguts werden angetriebene Kettenübertriebe zur Übergabe zwischen Förderabschnitten eingesetzt. Sie gewährleisten eine form- bzw. kraftschlüssige, reibungsarme Übergabe und verhindern Verrutschen oder Verkanten des Förderguts, wodurch Durchsatz und Prozessstabilität erhöht werden. Als Nachteil sind die Investitions- und Wartungskosten im Vergleich zu passiven Übergabelösungen erhöht.

In Abhängigkeit von Art und Zustand des Förderguts werden am Kettenstrang Übergaberollen eingesetzt. Sie übernehmen die passive Abstützung und Führung des Fördergutes an der Übergabestelle und ermöglichen dadurch eine schonende, reibungsarme Übergabe ohne zusätzlichen Antrieb. Vorteilhaft sind geringe Investitions- und Wartungskosten sowie einfache Montage.


